{"product":{"productId":"agid.26801","price":30.32,"name":"Hook clamp holders"},"currency":"EUR"}
Material
Carbon steel.
Version
Black oxidised.
Show more
Show less
Description
Material
Carbon steel.
Version
Black oxidised.
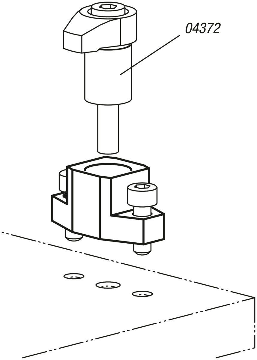
Accessory
Hook clamps 04372.
Important note on downloading CAD models
In order to download our CAD models, you must log in first. If you have not created an account yet, please register under "My Account" (right side of the screen) and follow the instructions.